La radio Lacora L-40, fue una radio de bajo costo relativamente popular en la España de los años 50.
Gracias a su tamaño pequeño y compacto, poco peso y relativamente bajo precio, se vendieron muchas unidades.
Lacora en sí, no era un fabricante de radios como tal, pero sí que fabricaba diversos componentes de radio, sobre todo los muebles. Así que, en los años 50, vendieron como kit el mueble que denominaron L-40.
Incluía todos sus accesorios y un circuito de receptor superheterodino básico con gamas de onda media y corta, con cajas de diferentes colores.
Muchos otros fabricantes compraban al por mayor el kit de Lacora para posteriormente ofrecer sus propias versiones. De ahí que aparezcan diversas diferencias bajo el mismo nombre (distintos colores, ligeros cambios del circuito, etc…).
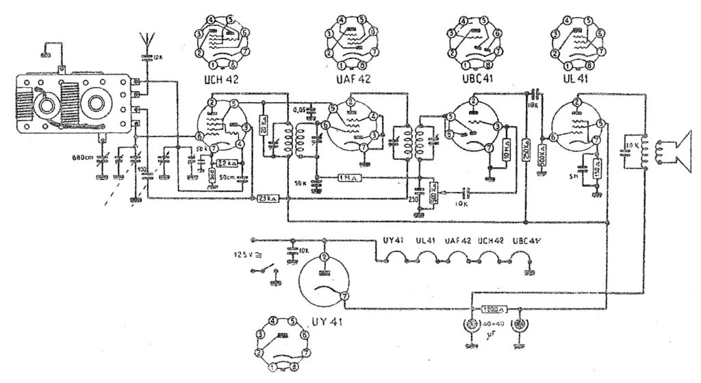
Uno de ellos era Radio Bertrán con su KIT 201. Ofrecían su propio bloque de bobinas más compacto y fácil de armar que el original de Lacora.
En mi caso, conseguí hacerme con dos Lacora L-40, de colores marrón y blanco, aunque lamentablemente el de color blanco resultó dañado en el transporte:



Como la marrón era la que mejor estaba estéticamente, decidí repararla, usando las partes electrónicas de la blanca como repuesto en caso de ser necesario.
Características de la radio Lacora L-40
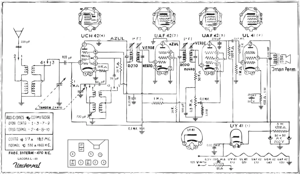
Las válvulas del kit de Lacora L-40 originales, son:
- UCH42: Como mezcladora/oscilador local.
- UAF42: Como amplificadora de Frecuencia Intermedia.
- UAF42: Como detectora/preamplificadora de baja frecuencia. En algunas variaciones del circuito original, se usa la UBC41 en su lugar.
- UL41: Como amplificadora de potencia de baja frecuencia.
- UY41: Como rectificadora de alta tensión.
Como se puede ver, se usan válvulas rimlock, populares en su época. También un circuito de tipo universal (similar a, por ejemplo, la Philips BE292U) con el fin de ahorrarse el tamaño, coste y peso que supondría el usar un transformador de alimentación.
Hay que recordar que las radios de tipo universal son peligrosas. Al no llevar transformador de alimentación, un polo de la red queda conectado al chasis. Esto provoca que tocar el chasis o cualquier parte metálica conlleve un riesgo importante de electrocución, algo equivalente a meter un dedo en un enchufe.
Normalmente, el usuario sólo toca partes de plástico/baquelita que están aisladas. Sin embargo, el peligro de tocar por error o sin querer alguna parte metálica, siempre estaba subyacente.
Análisis del esquema
En cuanto al esquema:

Se puede ver cómo es un diseño bastante estándar y simple. Como la mayoría de radios de esta época, y especialmente las universales, está pensada para funcionar con una red de 125V.
Hoy en día hay que tener cuidado, ya que, si se conecta a los 230V actuales, se fundirán los filamentos de las válvulas.
Como curiosidad, el sistema para iluminar la bombilla del dial es uno bastante utilizado en aquella época. Se usa una resistencia shunt y se fuerza a pasar por la bombilla toda la intensidad de los filamentos y de la alta tensión.
Esto es así ya que, si se usase la bombilla del dial de forma directa, se acabaría fundiendo por el exceso de voltaje que recibe al encender la radio con los filamentos del resto de válvulas en frío.
El problema de esto es que una vez en operación normal, la bombilla recibe menos voltaje del que debería, haciendo que se ilumine menos. Para compensar un poco este efecto, se fuerza a que por la bombilla pase también todo el consumo del circuito de alta tensión.
Con esto se obtiene algo más de voltaje, pero aún lejos de los 6,3V nominales necesarios para que se encienda con su pleno brillo.
Reparando la Lacora L-40
El primer paso para la reparación, siempre comienza por ver el estado general en que se encuentra el circuito:



De este primer vistazo, saco estas conclusiones:
- La radio ha sido parcialmente restaurada por alguien. Ha sustituido los electrolíticos y el condensador de papel de 10nF de la reja de control de la UL4, para evitar que las fugas del condensador original destruyesen esta válvula. Sin embargo, hay otros condensadores de papel que ha dejado intactos.
- La bombilla de 6,3V que tiene es incorrecta, debería de ser de 100mA y… ¡Es de 800mA! Eso implica que recibirá un voltaje totalmente irrisorio como para que se encienda.
- El transformador de salida original ha sido reemplazado por otro que, aunque está bien, es demasiado grande para el hueco original que tiene el altavoz. Por esto mismo han tenido que poner colgando en el lateral de una forma extraña.
- El condensador variable, aunque no se aprecia en la foto, tiene una de las chapas ligeramente doblada. Esto causa que en ciertas posiciones del dial haga cortocircuito.
- El conector de antena está pegado en el chasis con silicona termofusible, debido a que la rosca está en mal estado.
Como nota interesante, esta radio no es una Lacora L-40 pura… ¡Realmente se trata de una mezcla de un Lacora L-40 con un kit Bertrán 201! Lo delatan que sus componentes son de radio Bertrán y que el bloque de bobinas es el que corresponde con el que usa su esquema particular:

Tras ver esto, viendo el estado general, y que es una radio simple, he decidido rehacerla de cero, usando el bloque de bobinas original correcto de la L-40 prestado de la radio blanca, su transformador correcto, etc…
Desmontaje de la Lacora L-40
La parte fácil de rehacer una radio de cero, es desmontarlo todo. En un rato, el chasis queda así:

Entonces podemos empezar con el montaje en sí. Pero antes, como mejora de seguridad para la radio, he decidido que voy a usar un bus de masas independiente del chasis, conectando el bus a este último mediante un condensador de calidad Y1, que garantiza que en caso de fallo jamás se pondrá en corto exponiendo el chasis a la tensión de red.
Lo primero, es limpiar todo lo que se pueda el chasis, y poner el condensador variable con sus correspondientes gomas aislantes para el chasis. Estas gomas son importantes y en el 100% de las radios están deshechas por el paso del tiempo.
Su función principal es la de evitar pasar las vibraciones del chasis al condensador variable, evitando así microfonías. Adicionalmente, en este caso también cumplen la función de aislar eléctricamente el condensador variable del propio chasis, cosa necesaria al usar un bus flotante de masa.


El resto del montaje es fácil siguiendo el esquema, en unas horas, está totalmente terminado (aunque aquí con unas modificaciones que comentaré posteriormente):


Tras ajustar la radio con el generador de señales, funciona perfectamente, ¡Reparación terminada!
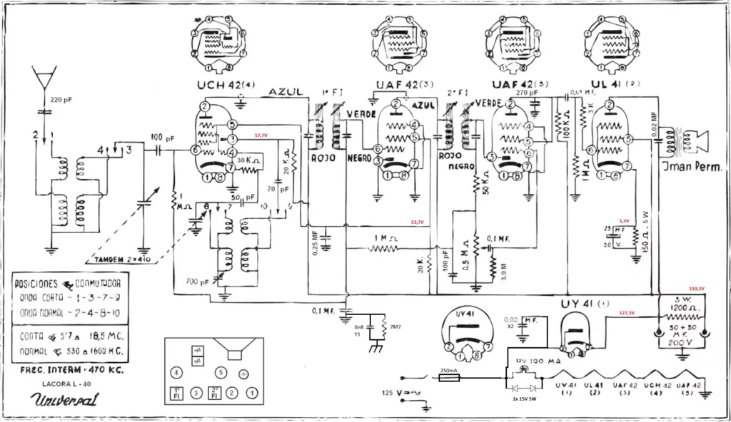
Mejoras en el esquema
Aprovechando el montaje desde cero, he decidido realizar las siguientes mejoras, que son siempre interesantes de acometer en cualquier radio de este tipo:

Mejoras referentes a la seguridad eléctrica
La primera mejora es un bus de masas flotante del chasis para mejorar la seguridad. Este bus de masas se conecta al chasis con una resistencia de 2M2 en paralelo con un condensador de 6,8nF de tipo Y1 de seguridad. Esto es necesario porque el chasis tiene que quedar a potencial de masa para las frecuencias de RF y a la vez bloquear lo máximo posible la frecuencia de 50Hz de red, lo que se consigue con un condensador de este valor.
También se le ha añadido un nuevo cordón de enchufe con toma de tierra. La toma de tierra se conecta directamente al chasis, de forma que, si se produce algún tipo de fuga del circuito de la radio hacia el chasis, provocaría el salto del diferencial antes que quedarse energizado con el peligro que ello supone.
Además, como ventaja extra permite que el circuito de RF de entrada quede conectado a tierra. Así se mejora la recepción que como estaba originalmente, con solo un hilo como antena sin estar referenciado a tierra.
Se ha incluido un fusible a la entrada para proteger el circuito en caso de fallo.
Mejoras referentes al circuito
Se ha cambiado el circuito de la bombilla del dial original. En primer lugar, se ha sustituido la bombilla original por una de 12V a 0,1A (hoy en día son más fáciles de encontrar) y se ha eliminado el método de la resistencia shunt para ponerla en serie con el resto de filamentos.
La diferencia radica en que para evitar que la bombilla se queme durante el encendido, se han añadido dos diodos zeners de 5W espalda contra espalda de un voltaje ligeramente superior al de la bombilla. Gracias a esto se proteje la bombilla del dial durante el encendido.
Además, con esto se consigue que la bombilla reciba su voltaje correcto, cosa que no pasaba en el esquema original.
Finalmente, se han añadido al esquema los voltajes aproximados de cada parte del circuito.
Sin embargo, hay algunas modificaciones más, como la que realicé finalmente, que es la conversión a 230V para que funcione con los voltajes de red modernos.
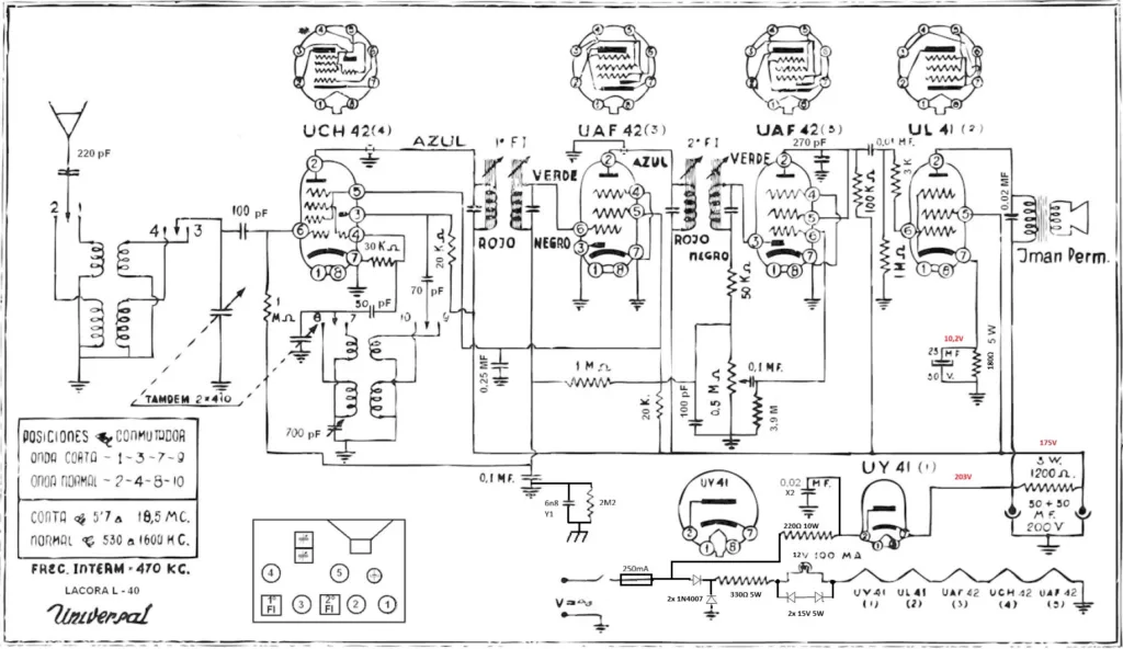
Conversión para funcionar con 230V
El esquema definitivo, incluyendo la conversión es el siguiente:

En general, se mantienen las mejoras anteriores, pero añadiendo lo relacionado con la conversión.
Conversión de la parte de la rectificadora
En primer lugar, es necesario añadir una resistencia de 220Ω 110W en serie con el ánodo de la UY41. Esto no era necesario cuando se usa a 125V, pero a 230V se convierte en obligatorio para limitar la intensidad máxima de pico que se produce en la válvula rectificadora en su funcionamiento normal.
Como ahora disponemos de más voltaje, hay que adaptar un poco la etapa de salida. Para ello, hay que aumentar el valor de la resistencia de cátodo de la UL41 de 150Ω a 180Ω. Con ello se obtiene el voltaje de polarización correcto para los nuevos voltajes de alta tensión y además conseguimos más potencia sonora en el altavoz. El resto del circuito no necesita modificaciones.
Conversión del circuito de filamentos
La parte que más cambios ha sufrido, es la de los filamentos. Para evitar desperdiciar tanta energía en la resistencia que baja el voltaje de los filamentos, he usado el truco de usar un diodo de silicio para recortar a la mitad la forma de onda de la red, haciendo que la resistencia tenga que disipar aproximadamente sólo la mitad de la potencia que necesitaría normalmente.
Cuando se usa este truco, hay que tener en cuenta que el voltaje RMS que se obtendrá después del diodo será de Vin*0,707, que para 230V corresponde con 162V. La resistencia de los filamentos, por tanto, se calcula en base a ese valor, que resulta ser de aproximadamente 330Ω y 5W de potencia.
El diodo que está conectado a tierra sirve como diodo de protección. En caso de que el diodo de los filamentos quede cruzado, este diodo pasaría a conducir, causando un corto y por lo tanto haciendo que salte el fusible de la entrada, protegiendo a los filamentos de recibir un exceso de voltaje en el caso de que se produzca esa falla del diodo.
Con estas modificaciones, la radio queda perfectamente funcionado a 230V y, además, de una forma mucho más segura que originalmente. Os animo a probar estas mejoras en esta radio o cualquiera con un esquema similar.

